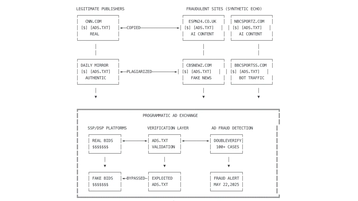
DoubleVerify has identified more than 100 cases of ads.txt manipulation since the standard launched in May 2017, highlighting escalating threats to digital advertising integrity. The software platform issued an industry alert on May 22, 2025 — one week ago — warning of sophisticated schemes that exploit the ads.txt system to divert advertising revenue from legitimate publishers.

PPC Land Newsletter

Get the PPC Land newsletter ✉️ for more like this

Subscribe

According to DoubleVerify's analysis, fraudsters have developed increasingly complex methods to manipulate ads.txt files, which enable publishers to publicly declare authorized inventory sellers. "Bad actors are exploiting ads.txt and advertisers often have no idea it's happening," said Gilit Saporta, Head of the DV Fraud Lab. The company documented a significant increase in such schemes during recent years as criminals adapt to exploit industry safeguards.

The scale of deception extends far beyond simple manipulation. DoubleVerify's Fraud Lab uncovered Synthetic Echo, a network comprising over 200 AI-generated websites that monetize through multiple supply-side platforms and exchanges. These sites produce low-quality artificial intelligence content while using deceptive domain names such as espn24.co.uk, nbcsportz.com, and cbsnewz.com to mislead programmatic platforms and buyers.

Timeline

May 2017: IAB Tech Lab launches ads.txt standard to prevent unauthorized advertisement inventory sales

Late 2018: DoubleVerify identifies first major ads.txt exploitation scheme involving bot-generated traffic and content scraping

January 2025: DoubleVerify publicizes initial findings about Synthetic Echo network

January 15, 2025: Wired publishes investigation into AI-generated content mills, prompting legal responses from affected publishers

May 22, 2025: DoubleVerify issues comprehensive industry alert documenting over 100 cases of ads.txt manipulation since 2017

This post is for subscribers only

Subscribe now and have access to all our stories, enjoy exclusive content and stay up to date with constant updates.

Subscribe now

Already a member? Sign in